Close cart
Home > Delta 8" Kitchen Faucet With Spray

 

Delta 8" Kitchen Faucet With Spray

Delta 8" Kitchen Faucet With Spray

Mark's Part Number: 16195
Manufacturer's Part Number: 300-DST

Specifications

  • ADA | Yes
  • Series | 134 / 100 / 300 / 400 Series
  • Brand Name | Delta
  • Model | 300
  • Length | 10.53
  • Width | 10.59
  • Height | 8.38
  • UPC | 034449593366
  • Country of Origin | United States

Product Information

Single handle 8" deck mount kitchen faucet features an ADA compliant lever handle and an 8" long swing spout. Also features 3/8" OD copper tube inlets and spray mounted on the escutcheon plate. Polished chrome finish.
 
List Price:
Web Price:


Item is Discontinued subject to stock on hand.


  Part Logo            
 

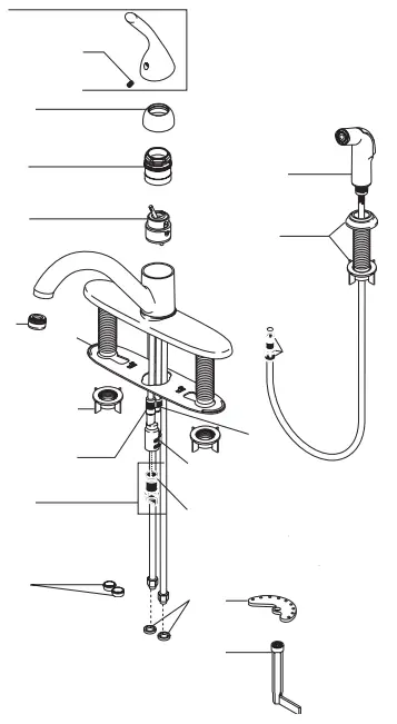
Schematic

You can now add individual parts of this schematic directly into your shopping cart.

Just click the Add Button sign.

×

×

×

×

×

×

×

×

×

×

×

×

×

×

×

×

×

×

Schematic Image
  

Related Items


 

Frequently Bought Together


Login
Products
E-Catalogs